Мы представим производительность, методы безопасной работы и технические параметры ZGS-12 Трансформатор на подкладке.

1. General provisions
Настоящее руководство предназначено для оказания помощи инженерам и техникам в монтаже, эксплуатации и эксплуатации комбинированных трансформаторов (далее именуемых комбинированными).
Комбинированный трансформатор, выпускаемый на нашем заводе, представляет собой полностью изолированный, полностью герметичный, водонепроницаемый трехфазный распределительный трансформатор для монтажа на стенде, который подходит для the three-phase distribution system with a rated voltage of 10КВ. Meet the requirements of the corresponding national standards
Настоящее руководство не является подсценкой для общих процедур эксплуатации электрооборудования и не может удовлетворять всем требованиям к монтажу, использованию и эксплуатации.. Эти задачи должны выполняться с персоналом, знакомым с безопасностью и процедурами работы энергосистемы.
2. Use conditions and environment
a. Аltitude: no more than 1000M.
b. Аmbient temperature: -25C to 40C
c. Relative humidity: not more than 95% (daily average).
d. Ground inclination: no exercise 3.
e. Wind speed: no more than 35m/s.
Внутренние и наружные места без сильных ударов и вибрации, без серьезных загрязнений и сред химической коррозии, а также без опасности взрыва.
3. Main technical parameters
Серийный номер | Имя | единицы | High pressure side | трансформатор | Борона низкого давления |
1 | Номинальное напряжение | КВ | 10 | 0.4 | |
2 | Максимальное рабочее напряжение | КВ | 12 | ||
3 | Номинальная мощность | КВА | 50-2500 | ||
4 | Номинальный ток | А | 10-630 | 100-2500 | |
5 | Withstand current for a short time | KА | 12.5/20 | 12.6-40 | |
6 | Short tolerance time | S | 2 | 1 | |
7 | Peak withstand current | KА | 50 | 30-60 | |
8 | Мощная частота выдерживает давление | КВ | 35 | 35 | 5 |
9 | Lightning impact withstand pressure | КВ | 75 | 75 | |
10 | High-voltage current-limiting fuses quickly cut off the current | KА | 50 | ||
11 | Уровень защиты | Ip33 | Ip65 | Ip33 | |
12 | Уровень шума | db | W55 | ||
13 | Номинальная частота | Гц | 50/60 |
4. Unpacking acceptance inspection
Проверьте продукт на предмет повреждения, деформации и разрыва.Проверьте, полны ли аксессуары и специальные инструменты в соответствии с упаковочным списком, и install according to the installation requirements after confirming that they are correct.
5. Installation
А.Сборка устанавливается на бетонном фундаменте высотой от 100 - 400 мм от земли, достаточной для выдержания веса сборки.Рекомендуемая диаграмма размеров сборки и основания приведена в добавлении 1.
B. The cable is placed before the group is in place and must be without electricity.
С.Уверху коробки есть крюк для погрузки и разгрузки, а угол между подъемным стальным кабелем и вертикальной линией при растяжении не может превышать 30.При необходимости для поддержания стального кабеля следует использовать стержню, чтобы избежать деформации конструкции или подъёмного крюка.Большая часть веса сборочного трансформатора сосредоточена в основном ящике, содержащем железное ядро, обмотку и изоляционное масло, а большинство высоковольтных и низковольтных клеммных ящиков пустые, и вес относительно легкий. (Ненадлежащее использование крюков или кранов может привести к повреждению сборки или других аксессуаров, а также к травмам персонала.))
Примечание: Если групповой трансформатор не может быть поднят краном, его можно скользить скейтбордом или роликом.При поддержке коробки и вставке Ролик ниже, требуются по меньшей мере два разъема, и смежные два угла должны быть подняты гладко одновременно, чтобы избежать деформации дна коробки.Джек The Jack может быть размещен только на углах нижней части коробки, и должна быть добавлена подпорная пластина, а разъемник не должен быть размещен под теплоотводом, клапаном или тонкой сталью Пластинка.Если используются ролики, их количество должно быть соответствующим, а вес ящика должен нести равномерно.Перед тем, как вытянуть трансформатор, установить затяжные кольца по обе стороны нижней части коробки трансформатора.Не прикрепляйте кабель к перегруппированному литью или другим деталям из листа.
D. Installation site
В составе имеется два типа изоляционного масла, одно - это масло с высокой точкой воспламенения, а другое - это высококачественное минеральное масло.Групповые трансформаторы с высоким масляным зажиганием (с очевидными признаками в низковольтная изоляционная комната группового трансформатора) может быть использована в здании или на открытом воздухе; состав минерального масла не может быть использован в buildings. The freezing point of high-quality mineral oil is -45.Температура замерзания масла с высоким воспламенением составляет -30. 1.Сочетание масла с высоким воспламенением не может использоваться в местах с температурой окружающей среды ниже -30°C.Независимо от того, является ли это комбинацией высококачественного минерального масла или масла высокого зажигания, если он вводится в эксплуатацию при температуре окружающей среды ниже -20°C, его необходимо запустить в течение 24 часов без нагрузки для предварительного нагрева, а затем постепенно загружать.В случае сомнения, пожалуйста, свяжитесь с нашим заводом.
6. Handover test
После завершения монтажа подключить пробку испытательного кабеля (пробку испытательного кабеля можно приобрести в качестве опциона) и провести испытание передачи в соответствии с соответствующими процедурами испытания национального стандарта.
7. Installation precautions
А. When accessing the system
Before wiring any system, Сначала заземлите коробку. Клемма заземления коробки должна быть подключена к фиксированной точке заземления с низким сопротивлением.
Перед подключением очистите все втулки, втулки, клеммы и контакты, а также очистите всю пыль, масло и посторонние предметы.Connecting the neutral point of the group change and the neutral point of the system.
Install accessories as required to ensure the insulating oil is at the appropriate height.
When no one is on duty, close and lock the box door.
8. When operating
☆ При нормальных обстоятельствах операция по вставке предохранителя должна быть выполнена после отключения питания, а соответствующие инструкции по эксплуатации должны быть внимательно прочитаны перед эксплуатацией.
☆ Переключатель внутренней нагрузки можно использовать только для прерывания номинального тока, но не для отключения тока неисправности.
☆ Insulated operating lever must be used to operate the load switch.
C. When maintenance is required
☆ Групповой трансформатор не может быть проведен капитальный ремонт, пока система работает.Перед техническим обслуживанием он должен быть изолирован, отключен и полностью изолирован от группового трансформатора.
☆ Запустите предохранитель, откройте впрыскивающий клапан масла и освободите внутреннее давление трансформатора (вытяните клапан снятия давления) перед открытием масляного бака, и не выполняйте вышеуказанные операции до того, как внутреннее давление достигнет нуля.
Warning: The released gas may be flammable, so be careful when releasing it.
Не открывайте крышку коробки группового трансформатора, если в этом нет крайней необходимости. Перед открытием очистите the area around the lid and close it in the shortest possible time to prevent moisture and dust from entering the box. Do not turn on the group change in wet or rainy weather.
8. Operation
А. Inspection before commissioning
☆ Проверьте, подключены ли кабельные соединения по мере необходимости, и подключены ли соединения кожуха и локтевые заглушки на месте;
☆ Все кабельные соединения и заземляющий провод коробки необходимо соединиться с конюшней, точкой заземления низко-импеданса;
☆ Аfter confirming that there is no problem, it can be put into operation;
☆ Перед вводом в эксплуатацию группового трансформатора, высота уровня масла в коробке должна быть проверена, а высота уровня масла должна быть считана непосредственно с масляного датчика, а уровень масла должен находиться в указанном положении масляного датчика при температуре 25 °C при 25 °C.
Note: Прежде чем начать осуществление изменения группы, вы должны иметь глубокое понимание изменения группы.Убедитесь, что вы знакомы с приложениями и функциями всего оборудования и аксессуаров.Пожалуйста, носите защитную одежду и необходимое защитное оборудование во время эксплуатации и используйте изолированные рабочие рычаги при заземлении, испытании, изоляции или закрытии оборудования.Когда состояние регруппировки не может быть определено, оно рассматривается как живое лечение.
B. Preparation for commissioning
a. Refill oil
When needed, oil should be replenished in a timely manner
☆ Используйте насосы и шланги, которые не загрязнены; не используйте резиновые шланги.Поскольку масло растворит содержащуюся в нем серу, следует использовать металлические или нерезиновые шланги.
☆ Connect the oil outlet pipe of the oil pump to the oil injection port of the oil tank.
☆ Откачайте масло обратно со дна герметичного временного контейнера, заботясь о том, чтобы не допустить впускной патрубок масла втягивать воздух.
☆ To prevent high-speed oil flow inflation, pump slowly until the oil level is required.
b. Grounding
Выделенное заземление на корпусе трансформатора должно быть подключено к постоянной точке заземления.
c. High-voltage wiring
☆ Сборка оснащена универсальной высоковольтной розеткой корпуса.Однопроходные или двухпроходные рукава, которые совпадают с розеткой корпуса, должны быть заставлены в поле.Метод монтажа однопроходного и двухпроходного мульфа приведен в приложении 3.
☆ Установите витку переключающего кабеля на высоковольтный кабель в соответствии с методом монтажа, описанным в приложении 4, а затем вставьте витку переключающего кабеля в однопропускную или двойную обложку.
d. Low voltage wiring
На сборочном трансформаторе имеются трехфазные и нейтральные клеммы для подключения низковольтных кабелей.
Notice: Группа может работать только по номинальной величине, указанной на табличке, а длительная перегрузка эксплуатации существенно повлияет на продолжительность жизни.Если группа хранится на открытом воздухе слишком долго, необходимо взять образцы масла для проверки содержания влаги и прочности диэлектрики.Когда группа покидает завод, в коробке, как правило, наблюдается низкий вакуум над поверхностью масла (манометр показывает отрицательное давление), который может измениться с изменением работы или окружающей среды при нормальных обстоятельствах, если манометр показывает нулевое давление в течение длительного времени, это указывает на то, что может быть утечка, и требуется дальнейшая проверка.
C. Operational requirements
☆ Перед эксплуатацией, должно быть понято рабочее состояние линии и положение кранчевого переключателя, а переключатель нагрузки должен находиться в положении, отключенном от трансформатора;
☆ Understand the purpose and function of all cable glands before operation;
☆ Оператор должен стоять в лучшем положении и использовать изолированный рычаг управления для управления нагрузкой перед операцией.
☆ Согласно соответствующим правилам эксплуатации высокого давления, для обеспечения безопасности необходимо использовать необходимое защитное оборудование.
D. Power transmission
Close the previous level switch, and then turn выключатель нагрузки в положение подключения трансформатора в соответствии с требованиями 8. 3, а групповой трансформатор будет введен в эксплуатацию.
9. Аttachments
А. Tap changer
☆ Групповой переменный кран-сменщик является безгрузочным кран-сменщиком, и операция кран-сменщика может быть выполнена только при подтверждении того, что отключено питание.
☆ Устройство переключения передач имеет три или пять передач, обозначенных А, B, C, D и E, а диапазон отвода составляет 10 кВ ± 5% или 10 кВ ± 2*2. 5% 。
☆ «Т»-образная управляющая ручка кранника-смены установлена на панели камеры высокого давления, перед работой, блокирующий болт отвинчивается, а затем вращается в требуемое положение, а блокирующий болт затягивается после регулировки.Чтобы добавить замк, вы можете затянуть блокирующий болт низко и заблокировать его замком.
Note: Групповый трансформатор должен быть отключен перед эксплуатацией кранневого переключателя, иначе он нанесет ущерб группе и может привести к серьезным телесным повреждениям.
Переключатель нагрузки
☆ Выключатель нагрузки представляет собой трехфазный связующий выключатель с быстрой пружинной рабочей структурой.Существует два типа: 2 позиции и 4 позиции.Среди них 2 позиции используются для трансформаторов терминального типа, а 4 позиции используются для трансформаторов кольцевого сетевого типа.
☆ The load switch can only be used to interrupt the load current, not the short-circuit current.
☆ Insulated operating rod must be used to operate the load switch.
Insertion fuse
☆ Съемные предохранители обеспечивают удобство замены предохранителей снаружи, как показано в добавлении 2 для метода замены предохранителей.
☆ Разные возможности комбинирования, спецификации используемых предохранителей различны, поэтому вы должны обратить внимание при замене предохранителя.Все выбранные модели предохранителей маркированы на внутренней части двери каждой группы трансформаторов высокого давления камеры, и один и тот же тип предохранителей должен быть выбран при замене предохранителей, и модели предохранителей, выбранные для коробных трансформаторов разной мощности, являются следующими::
capacity | Insertion fuse specification |
100 | 4038108C06 |
125 | 4038108C07 |
160 | 4038108C07 |
200 | 4038108C09 |
250 | 4038108C09 |
315 | 4038108C09 |
400 | 4038108C12 |
500 | 4038108C12 |
630 | 4038108C12 |
800 | 4038108C14 |
1000 | 4000353C16 |
1250 | 4000353C16 |
1600 | 4000353C17 |
D. Cable accessories
Кабельные принадлежности: локтевые пробки, однопроходные (или двупроходные) мульты, однопроходные соединители (или двупроходные соединители), изоляционные защитные крышки, see Аppendix 3-5 respectively.
E. Surge arresters
Если вам нужно установить молниезащитник на группе, вы можете выбрать полностью изолированный локтный оксид цинка.Во время монтажа групповой поезд принимает оболочка с двумя проходами, один конец оболочки с двумя проходами соединен с вилкой локтевого типа, а другой конец соединен с молниезащитником.Метод установки заполнителя напряжений:
☆ Connect the grounding wire to the system ground.
☆ Use copper wire to connect the grounding end of the arrester with the system grounding.
☆ Use the contact surface of the lubricated arrester provided by this factory.
☆ Используйте изолированный рабочий рычаг, чтобы подключить рабочее отверстие предохранителя, и вставьте предохранитель в соединение корпуса силой, и убедитесь вставлять предохранитель на место.Примечание: Запретитель должен быть снят и повторно установлен после испытания.
F. Fault indicator and voltage display
See Аppendix 6
10. Maintenance
А. External maintenance
Regularly inspect all external surfaces of the composition, and repair it immediately if the coating has accidental bruises, scratches and wear.
B. Internal maintenance
Регулярно проверяйте, нормально ли работают все аксессуары и приборы в камерах высокого и низкого давления группы, а также проверяйте наличие утечки в каждой уплотнительной части.
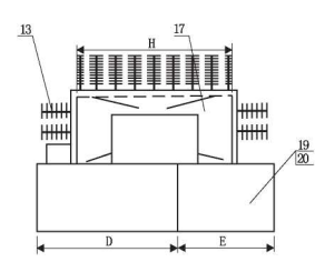
Аppendix 1 Combined трансформатор size and installation
| 1 Hook 11 Oil temperature gauge 2 Low voltage casing 12 High voltage casing socket 3 tap-changer 13 heatsink 4 wall-mounted 14 high-pressure chamber grounding 5 Plug-in fuse 15 Oil drain valve 6 load switches 16 bulkheads 7 Pressure Gauge 17 Fuel Tank 8 Клапан снятия давления 18 Grounding of the low pressure chamber 9 Oil injection port 19 High pressure chamber 10 Масляный уровень 20 Имяplate |
Figure 1-1 Dimensional diagram of standard ring mesh type and terminal crucian carp combining press
Composition Capacity (kVА). | А | B | C | D | E | F | G | H | J | K | L |
100 | 1030 | 1971 | 680 | 1091 | 880 | 536 | 560 | 1350 | 1176 | 1346 | 1580 |
125 | 1030 | 1971 | 680 | 1091 | 880 | 536 | 560 | 1350 | 1176 | 1346 | 1580 |
160 | 1030 | 1971 | 680 | 1091 | 880 | 536 | 560 | 1350 | 1176 | 1346 | 1580 |
200 | 1030 | 1971 | 680 | 1091 | 880 | 536 | 560 | 1350 | 1176 | 1346 | 1580 |
250 | 1030 | 1971 | 680 | 1091 | 880 | 536 | 560 | 1350 | 1335 | 1346 | 1580 |
315 | 1030 | 1971 | 680 | 1091 | 880 | 536 | 560 | 1350 | 1335 | 1346 | 1580 |
400 | 1030 | 1971 | 680 | 1091 | 880 | 536 | 560 | 1350 | 1335 | 1346 | 1580 |
500 | 1030 | 1971 | 680 | 1091 | 880 | 536 | 560 | 1350 | 1335 | 1346 | 1580 |
630 | 1290 | 2000 | 796 | 963 | 1037 | 660 | 660 | 1440 | 1540 | 1486 | 1710 |
800 | 1290 | 2000 | 796 | 963 | 1037 | 660 | 660 | 1440 | 1675 | 1486 | 1710 |
1000 | 1290 | 2000 | 796 | 963 | 1037 | 660 | 660 | 1440 | 1765 | 1486 | 1710 |
1250 | 1200 | 2205 | 836 | 1158 | 1047 | 660 | 760 | 1440 | 1865 | 1486 | 1710 |
1600 | 1200 | 2205 | 836 | 1213 | 992 | 660 | 800 | 1700 | 1920 | 1526 | 1710 |
Note: (1). The above dimensions are for reference only;
(2). The terminal type and the ring mesh type have the same overall dimensions.
|
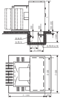
|
Figure 1-3 Schematic diagram of the installation of standard combined трансформатор | Figure 1-4 Schematic diagram of the installation of the sub-mother combined трансформатор |

1 Grounding of the low-pressure chamber 2 Low pressure casing 3 Hooks 4 Hyperbaric chamber 5 Fuel tank 6 Heat sink 7 Wall mounting 8 Oil Injection Port 9 Клапан снятия давления 10 Масляный уровень | 11 Pressure gauge 12 Переключатель нагрузки 13 Plug-in fuse 14 tap-changer 15 Grounding in the hypervoltic chamber 16 High Voltage Casing Socket 17 Spare Nuts 18 Grounding of the low-pressure chamber 19 Nameplates |
Мощность трансформатора (КВА). | А | B | F | G | K |
100 | 2000 | 1400 | 660 | 1400 | 730 |
125 | 2000 | 1400 | 660 | 1400 | 730 |
160 | 2000 | 1400 | 660 | 1400 | 730 |
200 | 2000 | 1400 | 660 | 1400 | 730 |
250 | 2000 | 1400 | 660 | 1400 | 730 |
315 | 2000 | 1400 | 660 | 1400 | 730 |
400 | 2000 | 1400 | 660 | 1400 | 730 |
500 | 2000 | 1400 | 660 | 1400 | 730 |
630 | 2205 | 1400 | 800 | 1465 | 755 |
800 | 2205 | 1400 | 800 | 1465 | 755 |
1000 | 2205 | 1400 | 800 | 1465 | 755 |
1250 | 2205 | 1400 | 800 | 1465 | 755 |
Note: (1). The above dimensions are for reference only;
(2). The terminal type and the ring mesh type have the same overall dimensions.
Аppendix 2 Plug-in fuses
Pull out the fuse tube
1.Вытащить клапан сброса давления, и после того, как давление в топливном баке полностью сбросится, подключить рабочее отверстие предохранительной трубы с изолированным рабочим рычагом.
2.Нажмите управляющую ручку вниз так, чтобы подвижный крюк управляющей ручки блокировал рабочее отверстие предохранительной трубы, и поверните крюк блокировки предохранительной трубы на 90°, чтобы освободить состояние блокировки между предохранительной трубой и креслом предохранителя.
3. Потяните трубку предохранителя вверх примерно на 100 мм, подождите несколько секунд и медленно вытащите трубку предохранителя после того, как масло с трубки предохранителя потечет.
4. Hold the handle and wipe off the oil stains from the fuse tube.
Примечание: Если обнаруживается, что масло вытекает из предохранительного крепления, клапан сброса давления должен быть вытянут снова, чтобы уравновесить давление внутри и снаружи резервуара.
Replace the fuse
1. Ослабьте гайку плавленой трубы гаечным ключом и открутите другую гайку другим гаечным ключом. (Рисунок 2-1)
2. Loosen the end bolts and remove the fuse. (Picture 2-2)
(Примечание: если предохранитель не сплавлен, перед снятием предохранителя необходимо выпрямить сплющенный электрод в форме воронки)
3. Inspect the inside of the fuse pipe to ensure cleanliness.
4. Вставьте новый предохранитель с одного конца, и электрод с плавким предохранителем предварительно установлен на конце ручки. (Рисунок 2-3)
5. Install the fuse pipe and fasten it with a wrench, the torque is about 5.7 - 8N.m.
6.Выпрямите воронковый электрод, установите внутренние болты, используйте один ключ, чтобы захватить расплавление, используйте другой ключ, чтобы затянуть концевые болты, крутящий момент составляет около 5,7 - 8N.m, а затем отвинтите концевые болты, проверьте, выпряжен ли воронковый электрод, чтобы обеспечить хороший контакт.
Install plug-in fuses
1. Hook the fuse pipe operation hole with an insulated operating lever.
2.Вставьте предохранительную трубку в предохранительное сиденье, поверните креветки предохранительной трубки на 90° и затяните замок для крещения предохранителя, чтобы обеспечить уплотнение между сиденьями предохранительной трубки.
Picture 2-1 | Picture 2-2 | Pictures 2-3 |
Аppendix 3 Single-channel sleeve and dual-channel sleeve
Double channel pipe cleaning, lubrication and installation 1.Очистите контактную поверхность оболочки с двумя проходами и сиденье оболочки в соответствии с требованиями однопроходной оболочки, нанесите смазку и закрутите оболочку с двумя проходами в направлении часовой стрелки до тех пор, пока шкутка не будет холодной и не издаст звук после затягивания. 2. Use a fixing plate to position the double pipe. 3. Используйте 0. 8 мм или эквивалентный медный провод для соединения заземляющего отверстия двойной трубы с заземлением системы. 4. Установите соответствующие детали (например, коленчатые заглушки, грозоразрядники или изоляционные защитные колпачки и т. Д.). |
|
Single-channel pipe cleaning, lubrication and installation 1.Очистите контактную поверхность корпуса и сиденья трубки, нанесите смазку, закрутите в однопроходную корпус по часовой стрелке и затягивайте ее специальным инструментом (семь с половиной поворотов). Note: If the tool is installed with torque, the torque is 13.5N. m. 2. Ground the grounding hole of the single-pass casing with a flexible wire. |
|
Аppendix 4 Elbow plug
|
|
Figure 4-1 | Figure 4-2 |
Instructions for installing the elbow plug
1 .Three-core cable split phase treatment
☆ Cut off the inner and outer sheaths at the cable end > 800mm.
☆ Наденьте перчатки ветви на фазе разделения, термоусадочный кожух (заземление слоя брони) на каждый однофазный провод, см. Рисунок 4-2 for each treatment size.
2 .Elbow plug mounting
☆ Очистите поверхность проводника кабельной щеткой, положите холодный прессованный соединение на проводник кабеля, закрутите соединительный проводник в винтовое отверстие холодного прессованного соединения и вставьте одно (двойную) через оболочку в будущем.
☆ Выберите подходящий обжимной инструмент, обжим должен начинаться с медного и алюминиевого соединения холодного обжимного соединения и вращаться 90° for each pressing, and remove excess lubricant with a soft cloth.
☆ Pull out the connecting conductor and screw it down.
☆ Очистите и смазите поверхность кабеля и внутреннюю часть локтевой вилки, медленно вставьте кабель в локтевую вилку и направляйте соединение с экранированным разъемом.Винтовое отверстие на холодном прессованном соединении видно на конце локовой пробки.
☆ Ввинтите соединительный проводник в отверстие для винта соединения холодного отжима и затяните его монтажным ключом до тех пор, пока он не будет кручен. 180. (If.)
With other wrenches, the torque is about 12.4N.m) o
☆ Use insulating self-adhesive tape to wrap the elbow plug and the cable heat shrink sleeve.
☆ Используйте заземляющий провод для соединения заземляющего отверстия локтевой заглушки с точкой заземления системы.
Load input
☆ Sufficient operating distance should be ensured.
☆ Use an insulated operating rod to hook the elbow plug operating hole.
☆ Выравнивайте соединительный проводник локтевой промылки с проводником рукава и толкайте вперед, пока вы не почувствуете, что он соединен, то есть обязательно толкайте его на место.
☆ The operation should be fast, accurate, decisive and powerful.
Load cut-off
☆ Hook the elbow plug operation hole with an insulated operating lever.
☆ Поверните изолированный рычаг управления влево и вправо, чтобы уменьшить трение между поверхностью корпуса и коленчатой заглушкой.
☆ Вытащить локтную пробку быстро, точно, решительно и мощно, будьте осторожны, чтобы не коснуться проводника со близлежащим заземленным проводом.
☆ Hang the elbow plug on the single (double) through connector with an insulated operating lever.
☆ Используйте рычаг управления изоляцией, чтобы накрыть изолирующий защитный колпачок, подключенный к заземленному проводу на токопроводящей части.
Notice: Работа локтной вилки должна осуществляться персоналом, знакомым с безопасностью и процедурами эксплуатации энергетической системы.
Используйте коленчатые заглушки для разделения нагрузок только в аварийных (или особых) ситуациях, и рекомендуется использовать соответствующий переключатель.
Elbow plugs cannot be used to close short circuit faults.
Аppendix 5 Single (double) pass fittings and insulation protective caps
Разъем прохода ☆ одиночный (двойной) использован для того чтобы заткнуть в штепсельную вилку локтя под напряжением, изолировать кабель под напряжением, сегментировать его, или использовать его для того чтобы заткнуть и не вытянуть никакое
The electrified elbow plug plays a role in dust, water and moisture.
☆ Соединитель двух-пути можно соединиться с типа локоть штепсельной вилкой на одном конце и типа локоть разрядником перенапряжения на другом.
☆ Insulation protective caps provide insulation and protective envelopes for sleeves and joints.
Single (double) pass mounting
1. Снимите защитный колпачок для транспортировки, очистите и смазайте {см. Требования одинарных (двойных) сквозных рукавов}.
2. Используйте медный провод для соединения одиночного (двойного) сквозного заземляющего отверстия с заземлением системы.
3. Hang the single (double) through joint on the wall hanging and tighten the fixing bolt.
4. Seal the corresponding joints with insulation caps.
Примечание: Все уместные компоненты должны находиться в государстве никакой силы прежде чем одиночный (двойной) соединитель пропуска можно установить и извлечь.
Insulation protective cap installation
1. Очистите и смажьте внешнюю поверхность соединения (или корпуса), связанную с внутренней поверхностью изолирующего защитного колпачка.
2. Connect the grounding wire of the insulation protective cap with the system ground.
3.Подключите разъем защитной крышки с изолированным управляющим рычагом и вставьте изолированную крышку в соответствующее соединение (или вкладку), пока она не будет подключена на место.
Remove the insulating protective cap
1. Hook the protective cap with an insulated operating lever.
2. Поверните защитный колпачок влево и вправо, чтобы уменьшить трение о контактную поверхность, и сильно потяните его назад, чтобы снять защитный колпачок.
Аppendix 6. Fault indicator and live indicator
The fault indicator is installed on the test point of the elbow plug, когда линия протекает через, индикатор индикатора неисправности имеет белый цвет и автоматически переворачивается в красный, указывая на то, что линия находится в состоянии "неисправности" в это время, когда цепи возвращается в норму, система автоматически сбросит окно индикатора и станет белым.Индикатор неисправности имеет два выбираемых порога, высокий и низкий, с низким порогом примерно 400 А (RMS) и высоким порогом примерно 800 А (RMS).В момент поставки окно отображения индикатора неисправности устанавливается в показателе неисправности (т. е.он отображается красным цветом), а после установки, когда напряжение линии достигает 5 кВ, через несколько минут индикатор неисправности находится в нормальном рабочем состоянии, а окно отображения автоматически сбросается на нормальное состояние (т. е.Он выделяется в белом цвете).
Note: Only when the line-to-ground voltage of the line reaches more than 5КВ, the fault indicator can perform fault display and reset for energy storage.
The live indicator is installed on the test point of the elbow plug, А непрерывное мигание светового индикатора указывает на то, что линия работает, чтобы предупредить искателя линии.
Индикаторы неисправностей и индикаторы в реальном времени-это полностью герметичные продукты для использования в широком диапазоне климатических условий и их индикации состояния. will not change due to vibration or mechanical shock.
Installation steps:
1.Установка индикатора делится на две ситуации: голова кабеля включена и не включена, при нормальных обстоятельствах голова кабеля должна быть отключена и заземлена перед установкой.
2. Снимите защитный колпачок с тестовой точки коленчатой заглушки с помощью изолированного рычага управления (контрольная точка не должна содержать пятен и ржавчины).
3. Lubrication indicator mounting the inner surface of the boot.
4.Подкрепите рабочее отверстие индикатора с изолированным рабочим рычагом, положите индикатор на испытательную точку локтевой пробки и поверните его в соответствующее положение.Предупреждение: Грязные, влажные или другие неисправности испытательной точки или индикатора могут привести к тому, что индикатор напряжения может ложно указать, что линия отключена. at
Перед эксплуатацией соответствующего оборудования обязательно используйте другие методы испытаний, утвержденные национальным стандартом, чтобы проверить наличие электричества в линии.
