Представляем характеристики, безопасные методы эксплуатации и технические параметры трансформатора: S9\ S11\ S13 Трансформаторы с жидкостью

Настоящее руководство применяется к полностью герметизированным масляным силовым трансформаторам, выпускаемым нашей компанией, номинальной мощностью 3150 кВА и ниже, уровнем напряжения 35 кВ и ниже.
1.Использование и характеристики
Помимо того, что они подходят для общих силовых трансформаторов, полностью герметизированные масляные трансформаторы особенно подходят для нефтехимической, металлургической, текстильной, легкой промышленности и предприятий, шахт и сельских районов с высокой влажностью и неудобным обслуживанием.
Этот продукт отменяет устройство защиты масла, такое как шкаф для хранения масла и поглотитель влаги, чтобы обеспечить, что масло трансформатора не вступает в контакт с воздухом, все уплотнения герметичными отличной специальной резиной, используя вакуумный впрыск масла, в нормальных условиях, трансформатор может использоваться непрерывно в течение 20 лет без какой-либо обработки, низкая стоимость технического обслуживания является главной особенностью этого продукта, и повышается надежность эксплуатации, продлевается срок службы.
2.Описание модели
S□-М-□ □
S - три фазы
□ - Код уровня производительности (11, 13, 20)
M - запечатанный
□ - номинальная мощность (кВА)
□ - Уровень напряжения высокого напряжения (10 кВ)
3. Транспорт
1.Во время транспортировки и монтажа, при подъеме трансформатора, четыре крана на топливном баке должны использоваться одновременно, чтобы нести общий вес трансформатора после того, как окончательная сборка трансформатора заполнится количеством трансформаторного масла.Если это требование не может быть выполнено, необходимо использовать специальный балкоподъемный трансформатор.
2.Все крепежные части данного продукта являются ослабляющими жирками для обеспечения надежного крепления.Однако во время транспортировки все еще необходимо обеспечить, чтобы трансформатор имел достаточную устойчивость, а уклон трансформатора не должен быть больше 15°.При подъеме его следует поднимать и осторожно освобождать, а в условиях отсутствия подъемного оборудования земля должна двигаться медленно, чтобы предотвратить сильную вибрацию.
4.Прием и хранение
1.После получения трансформатора пользователь должен немедленно проверить модель продукта и полученные спецификации в соответствии с табличкой, соответствуют ли спецификации контракту заказа, а затем тщательно проверить, есть ли повреждения каждой части трансформатора, повреждены ли уязвимые части, такие как сигнальные термометры, оболочки и т. д., а также шланг сигнального термометра выровнен и сломан.Особое внимание следует уделять целостности фарфоровой обложки, которая оценивается по наличию утечки масла в корпусе, и проверять наличие утечки масла или утечки масла в каждой уплотнительной части трансформатора.
2.Если трансформатор не установлен и не введен в эксплуатацию немедленно, и его необходимо хранить в течение длительного времени, все уплотнения должны быть герметичными, запасные части должны быть надлежащим образом хранятся, а состояние хранения должно регулярно проверяться.
5.Установка и техническое обслуживание трансформаторов
1.Установка трансформатора
1.1Пользователь использует вилочный погрузчик или другое погрузочное средство для плавной транспортировки трансформатора в назначенное место монтажа.
1.2Будьте осторожны, чтобы не повредить оболочку и другие изношенные детали во время монтажа, и не царапать топливный бак или царапать красочную пленку.
2.Критерии проверки и оценки перед вводом трансформатора в эксплуатацию
2.1После транспортировки полностью герметизированного масляного силового трансформатора пользователю нет необходимости проверять ядро.
2.2Трансформатор должен испытываться по "Стандарту испытаний на сдачу электрооборудования в электромонтажной технике".
2.2.1 Измерить сопротивление постоянного тока обмотки и рукава, и значение не должно превышать 2% по сравнению с изготовительным измеренным значением при той же температуре.
2.2.2 Проверьте изменения всех кранов, и не должно быть никаких существенных различий по сравнению с заводскими данными.
2.2.3 Проверить, соответствует ли обозначение группы стыковки трансформатора маркировке на табличке.
2.2.4 Значение сопротивления изоляции должно быть близко к заводскому значению при той же температуре и не должно быть меньше значения, приведенного в таблице 1.
Таблица 1 Значение сопротивления изоляции (МΩ)
температура
| 20 | 30 | 40 | 50 | 60 |
<6 | 400 | 200 | 100 | 50 | 25 |
6 и более, но менее 20 | 800 | 400 | 200 | 100 | 50 |
20 или более 60 | 1000 | 500 | 250 | 125 | 65 |
Описание:Испытываемая катушка заземляется во время измерения. 2.Используйте мегаоммер 2500 В или специальный счетчик.
2.2.5 Частота внешней конструкции выдерживает испытательное напряжение напряжения обмотки и оболочки, приведенная в таблице 2.
Таблица 2 Экспериментальные нормы для выдерживающего напряжения мощной частоты изоляции высоковольтного электрического оборудования
Номинальное напряжение (КВ). | 3 | 6 | 10 | 15 | 20 | 35 |
Производственная экспериментальная величина | 18 | 25 | 35 | 45 | 55 | 85 |
Передача экспериментальных значений | 15 | 21 | 30 | 38 | 47 | 72 |
2.2.6 Обычные испытательные изделия трансформаторного масла проверяются в соответствии с требованиями к новому маслу (до ввода в эксплуатацию), см. таблицу 3.
Таблица 3 Экспериментальные пункты и нормы трансформаторного масла перед вводом в эксплуатацию
Серийный номер | Пункты | Новое масло в баке перед вводом в эксплуатацию |
1 | внешний вид | Прозрачный и свободный от примеси |
2 | Точка вспышки C (запечатанная) | 140 |
3 | Влажность мг/1 (ppm). | ≤20 |
4 | Кисловочное значение мгKOH/g | <0.03 |
5 | Напряжение разрыва КВ (2.5mm) Масляный зазор | 35КВ И ниже: ≥ 35 |
6 | Средство теряет тангентально тангенты. На 8% (90 ° C). | ≤0.7 |
7 | Напряжение интерфейса mN/М (25 °C). | ≥35 |
8 | Воднорастворимые кислоты (PH). | ≥5.4 |
2.2.7 Метод сбора проб нефти
(1)Промойте и сушите стеклянную стаканку диаметром около 80 - 100мм и ствол шприца примерно 100мл.
(2)Отвинтите крышку клапана пробки масла на дне топливного бака.
(3)Вытереть выпуск клапана пробы масла и окрестности чистой бумагой или тканью.
(4)Выровните стеклянную стаканку с выходом клапана.
(5)Используйте ключ, чтобы медленно отвинтить болт клапана масляного образца, чтобы масло течело в стаканку, и в то же время ввести иглу шприца в выпуск масляного клапана масляного образца, чтобы вытянуть масляный образца.
(6)Количество пробы нефти определяется пользователем в соответствии с потребностями экспериментального проекта.
(7)Когда проб масла собран, затягивайте болт клапана пробы масла и крышку клапана.
(8)Откройте крышку трубы впрыска масла на верхней части крышки коробки трансформатора, медленно заливайте масло трансформатора той же модели, того же веса и прошли испытание в трубу впрыска масла, затягивайте крышку трубы впрыска масла, и процесс отбора образца масла и пополнения масла завершены.
3.Обслуживание трансформаторов
3.1Стандарты технического обслуживания и проверки полностью герметизированных масляных трансформаторов приведены в таблицах 4 и 5.
Таблица 4 Стандарты регулярных инспекций
Серийный номер | Проверка предметов | Основные элементы проверки | Цикл | Критерии вынесения решения | замечание |
1 | Сопротивление изоляции | Использование качательный счетчик 2500 В илиAизмерительный инструмент с таким же эффектом Измерение фазы до земли | Нерегулярный | Сторона 35 кВ: 270 МОмСторона 10кВ: 200 м Ω 1КВ Сторона:50 МОм | После Серьезное перенаправление или серьезной аварии, Этоэксперимент осуществляются |
2 | Изоляционное масло | Хроматографический анализ | 6 лет | GB7252 - 87 "Руководящие принципы дляАнализ и Судебное решение Растворенный Газ в трансформаторном масле» | После Серьезное перена напряжение или серьезной аварии, Это Эксперимент не ограничивается периодом |
3 | термометр | 1.Внутренний точечный осмотр (поглощение ржавчины и влаги) 2. Состояние Газа 3.Указатель температуры, указывающий действие 4.Температурная оценка | 2 года | 1. Отсутствие ржавчины 2. Без повреждений 3.Указать нормальное действие (нежно нажать) 4,85 ° C | |
4 | Масляный уровень | 1.Внешняя инспекция 2.Если поверхность нефтяной поверхности полна нефти | 1 год | 1. без ржавчины, нетНефтевые пятна наСтекло 2.Можно ли увидеть поверхность нефти | Не существует камеры уровня нефти Данный пункт не будет проверен |
5 | оболочки | 1.Статус терминала 2.Состояние рукава 3. Утечка масла? | 2 года | 1.Нет ослабления или обесцвечивания 2.Нет повреждений или деформации. 3.Нет утечки масла или утечки воздуха | Если есть какой-либо аномалия, то она должна Be Done in Time |
6 | Заземляющий проводник | Rugged State | 2 года | Никаких расслаблений, ни сломанных проводов | |
7 | Давление Выпускающий клапан | 1.Если печать масляна 2.Если соединение провода это фирмы | 2 года | 1. Отсутствие утечки масла 2.Если есть какие-либо аномалии, то их следует устранить вовремя. | Если есть утечка Решить это своевременно |
Таблица 5 Стандарты ежедневного осмотра
Серийный номер | Проверка предметов | Основные элементы проверки | Цикл | Критерии вынесения решения | замечание |
1 | Внешний вид | Нет грязи, трещин или утечки нефти | январь | Не должно быть никакой грязи, трещины, утечка масла и т. д. | Если есть какой-либо аномалия, то она должна Be Done in Time |
2 | Звук и odor of the body | Аномальные звуки и запах(Слух, обоняние) | январь | 1. Звуки и вибрации Возбуждение, вызванное возбуждением нормальный 2. Аномальныезвуки такие, как ослабление и разгрузка крепежной гавицы проводящей части 3.Горение изоляции будет иметь особый запах | Если есть какие-либо аномалии, Исследовать причину и решать ее в своевременный способ |
3 | Температура тела | Повышение температуры нормально | январь | Нагрузка Current Передается через трансформатор Связано с повышением температуры нефти поверхность | Если есть какие-либо аномалии, Исследовать причинуИ иметь дело сЭто всвоевременный способ |
4 | Поверхность жира тела | Нормальная ли поверхность масла (таблица поверхности масла) | январь | Масло должно быть заполнено измерителем уровня масла | Если есть Нет масляного примера, Не может быть проведена точечная инспекция |
5 | current | Превышает ли текущий уровень допустимого значения и Трехфазный ток сбалансирован (Амперметр) | январь | Ток каждой фазы примерно сбалансирован в пределах номинального диапазона | If the Дисбалансированность серьезнаЭто должно быть скорректировано в времени |
3.2Метод обработки просачивания нефти и пополнения нефти
3.2.1 В случае утечки масла в уплотнении спираль может быть затянута ключом, и масляные пятна могут быть вытерты сухо.
3.2.2 Если уплотнительный материал вызывает утечку масла, уплотнение следует заменить.
3.2.3 Просачивание масла в сварных швах должно быть устранено вовремя.
3.2.4 После очистки от просачивания масла метод пополнения масла аналогичен пункту 8 пункта 2.2.7.
3.2.4.1 Коли чество по пол нения неф ти : При норма льных обстоя тельства х количество ма сла , про са чи ва ющего ся из ба ка , неве лико , поэтому количество по пол нения ма сла зависи т от на пол нения ма сла на кры шке ба ка , и температура ма сла и температура окру жа ющей сре ды в это время можно игно ри ровать .
3.3Целью вакуумного впрыска масла полностью герметизированных трансформаторов является устранение газа в катушке как можно больше в вакуумных условиях, так что масло трансформатора может заполнить зазоры внутри катушки и изоляционного материала, а также улучшить изоляционные характеристики и срок службы трансформатора.Поскольку количество пополнения масла из-за просачивания масла очень мало, оно не влияет на абсолютную мощность катушки.
Производитель предусматривает в процессе вакуумного впрыска масла: в условиях вакуумного впрыска масла масло впрыскивается примерно на 100 мм от крышки коробки, а затем впрыск масла прекращается, но вакуум продолжается в течение 1 часа, а затем масло впрыскивается из трубы впрыска масла из крышки коробки, чтобы уровень масла поднялся до вершины трубы впрыска масла.
6.Допустимый режим работы
1.Номинальный режим эксплуатации
1.1Трансформатор должен быть оснащен релейной температурной защиты, который может работать в соответствии с спецификациями на табличке при заданных условиях охлаждения.
1.2Допустимая температура во время работы трансформатора проверяется в соответствии с повышением температуры верхнего масла, и допустимое значение повышения температуры верхнего масла составляет 55°С, но максимальная температура не должна превышать 95°С.Во избежание быстрого старения трансформаторного масла, температура верхней части масла не должна часто превышать 85°C.
1.3Прилагаемое напряжение шаговых трансформаторов и шаговых трансформаторов может быть выше номинального значения, но обычно не более 5% от номинального значения, независимо от того, где расположен кранник напряжения, если применяется первичное напряжение, оно не превышает 5% от его соответствующего значения напряжения, то вторичная сторона трансформатора может иметь номинальный ток.
2.Допустимая перегрузка
2.1Трансформатор может работать при нормальной и аварийной перегрузке.Нормальная перегрузка может использоваться регулярно, а ее допустимое значение определяется по кривой нагрузки трансформатора, температурному центру охлаждающей среды и нагрузке трансформатора до перегрузки.Аварийное перегрузку разрешается использовать только в аварийных ситуациях.Например, если один из нескольких действующих трансформаторов поврежден и нет резервного трансформатора, остальным трансформаторам разрешается работать по аварийной перегрузке.
2.2Допустимое значение аварийной перегрузки трансформатора должно быть указано в следующей таблице:
| Соотношение аварийной перегрузки к номинальной нагрузке | 1.3 | 1.5 | 1.75 | 2.0 | 3.0 |
Допустимая продолжительность перегрузки (минуты) | 120 | 45 | 20 | 10 | 1.5 |
3.Небалансированный ток допустимого тока короткого замыкания.
3.1Ток короткого замыкания трансформатора не должен превышать 25 раз номинального тока, а время прохождения тока короткого замыкания не должно превышать значения, рассчитанного по следующей формуле::
T = 900 / Кс, где K - умноженное устойчивого тока короткого замыкания к номинальному току.
3.2Для трансформаторов, катушки которых соединены в соответствии с Y, yn0, ток средней линии, как правило, не должен превышать 25% номинального тока низковольтной катушки (за исключением особых требований пользователей)
Руководство по эксплуатации общих компонентов масляных силовых трансформаторов
1. Обзор
Это руководство по эксплуатации подходит для общих компонентов силовых трансформаторов, выпускаемых на нашем заводе, включая корпуса, кранневые переключатели, клапаны сброса давления, клапаны для проб масла, сиденья термометров, заземляющие болты и клапаны для масляного дренажа.Другие стандартные компоненты сопровождаются инструкциями по использованию.
2.Использование и обслуживание
(1)Руководство по эксплуатации для втушек трансформаторов мощностью 35 кВ и ниже

Диаграмма 1

Диаграмма 2 Диаграмма 3
1.Ри су нок 1 представ ляет собой компози т ную обо ло чку , использу ему ю для напря жения 1 тыс . во льт и ни же , ток состав ляет 300 - 3000 А .На ри сун ке 2 представ лена ка бе льная му ль фа , использу ема я для напря жения 10 тыс . во льт , то ка 50 - 300 А .На ри сун ке 3 показа на ре зь бе жна я рука ва с напря жени ем 35 к В и то ком 35 - 600 А .
2.Когда трансформатор выходит из завода, оболочка собирается на масляный бак трансформатора и отправляется пользователю вместе с трансформатором.
3.Если вам нужно демонтировать или заменить фарфоровой тип, то это следует провести следующим образом.
(1)Композитная оболочка, сначала поднимите подъемное тело, затем снимите вывод нижней части оболочки, и, наконец, отвинтите все крепежные гашки, снимите оболочку и замените сменную оболочку, которая была промыта и высушена.
(2)Для кабельного типа оболочки, при замене оболочки, оболочка может быть заменена внешне, и при замене следует отвинтить суставу, а соединение должно быть вытянуто медной проволокой или пряжным ремнем, чтобы предотвратить скользкание в масляный бак, а затем удалить, фарфориновую крышку, уплотнительную уплотнитель и давление пластину и т. д.
4.При монтаже оболочки на топливный бак трансформатора следует учитывать следующие моменты::
(1)Для композитной оболочки, чтобы полностью зажимать фарфоровую часть на крышку коробки трансформатора, чтобы предотвратить утечку масла, верхние и нижние части оболочки должны быть затянутыми для закрепления жирки фарфоровой части.
(2)Для корпуса кабельного типа гачка винта пресса, закрепляющего корпус, должна быть равномерно затянута, а затем проводящий стерж закрепляется после прочной установки корпуса на масляный бак трансформатора.
5.При многолетнем использовании оболочка должна быть чаще промыта в соответствии с ситуацией грязи, чтобы предотвратить выброс поверхности фарфоровой рукава.
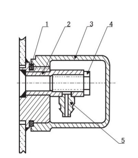
(2)Ключевой переключатель без возбуждения
Трехфазные полностью герметичные силовые трансформаторы, произведенные нашей компанией, обычно оснащены беснагрузными кранневыми переключателями типа WSP на крышке коробки, чтобы заменить высоковольтный боковой краннечный переключатель, когда нет электричества.
1.Типичная структура регулятора напряжения в нейтральной точке типа WSPII1 показана на рисунке 4.
2.Для значения напряжения, указанного цифровым индикатором кранного переключателя в диапазоне регулирования напряжения ±5%: 1 указывает кранной разъем с 5% номинального напряжения, 2 указывает номинальное напряжение и 3 указывает кранной разъем с -5% номинального напряжения.
3.При изменении положения кранчевого переключателя винт на крышке элемента 4 должен быть отвернут и снят, часть позиционирования ручки элемента 3 должна быть вытаяна из отверстия в канаве, а затем элемент 2 должен быть вращен в требуемое положение кранчевого переключателя, а часть позиционирования ручки должна быть встроена в соответствующее отверстие в канаве и покрыта крышкой.
4.Если в связи с потребностями трансформатора кранообразователь часто работает в одной позиции, для устранения оксидной пленки и масляных пятен на контактной части и обеспечения хорошего контакта, независимо от того, нуждается ли трансформатор в изменении напряжения, кранообразователь должен вращаться не менее 10 раз в год.Если нет необходимости менять напряжение, оно все еще будет фиксировано в исходном положении после вращения, а положение кранника должно быть изменено, и мостик или мультиметр должны быть использованы для измерения пути, прежде чем его можно было бы ввести в эксплуатацию.
5.Если обнаруживается утечка трансформаторного масла из крана-сменщика, выясните, откуда оно утекает.В случае утечки масла из крышки топливного резервуара трансформатора и фланца кранпеременателя плоская жирка пункта 6 должна быть немедленно затянута, а в случае утечки масла из вала и фланца жирка пункта 5 должна быть затянута, но не должна быть затянута слишком сильно, чтобы избежать чрезмерного увеличения вращающегося момента.

Рис. 4 Кранчевой переключатель типа 1 WSPIII
Если речь идет о регулировании среднего напряжения, то используется невозбуждающий кран-смендатель WPS II.1, и его метод эксплуатации и технического обслуживания в основном такой же, как и выше.Для невозбудительных кранневых сменных устройств, отличных от вышеперечисленных, подробную информацию см. в соответствующем руководстве по кранневым сменным устройствам.
(3)Клапан сброса давления
1.Использование продукта и производительность введение:
Выпускающие клапаны давления (далее именуемые выпускающими клапанами) подходят для жидкостной или газовой изоляции трансформаторов, трансформаторов, подключающих кключателей, высоковольтных выключателей, конденсаторов и других изделий для защиты топливных баков.
При аварии внутри трансформатора или нагруженного кранного переключателя часть трансформатора газируется, что вызывает быстрое увеличение давления внутри резервуара трансформатора.Если вы не возьмете надежной защиты, бак может деформироваться или даже разорваться.Освободительный клапан защищает резервуар трансформатора от повреждения.Когда давление топливного бака достигает рабочего давления выпускного клапана, выпускный клапан будет открыт в течение 2 миллисекунд, чтобы вовремя выпустить избыточное давление в топливном баке.
После открытия выпускного клапана давление в топливном баке снижается примерно до 53 - 55% рабочего давления, и выпускный клапан может быть надежно закрыт.Эта особая функция предохранительного клапана является особой потребностью защитного объекта, который может эффективно защитить топливный бак от повреждения.Когда давление в резервуаре снова повышается и достигает рабочего давления, предохранительный клапан будет действовать снова до тех пор, пока давление в резервуаре не упадет до нормального значения.При включении трансформатора необходимо снять одиннадцатый предохранитель.
Поскольку выпускный клапан может быть надежно закрыт после действия, воздух и вода за пределами топливного бака не могут попасть в топливный бак, а масло трансформатора не будет загрязнено атмосферой.
2.Модель, технические характеристики и основные параметры
2,1 модель
YSF□-□ □ □
YSF – Код клапана снятия давления
□ - Серийный номер конструкции
□ – Turn on the pressure кПа
□ - эффективный калибр впрыска масла; mm
□ - Сигналы тревоги об условиях окружающей среды и блокирующее устройство*
※: 1.Используется для маркировки механического сигнала "J".
2.Для использования в влажных тропических районах после знака "J" добавить "TH".
3.Если используется блокирующее устройство, то после него добавьте "B".
Например: YSF6 - 35 / 25JTHB
То есть диаметр впрыска масла φ25мм, давление открытия 35кПа, с механическим сигналом тревоги, он используется для блокировки влажной и горячей зоны, а также шестой дизайн клапана сброса давления.
2.1Спецификации и основные параметры приведены в таблице 1
3.Конструкция клапана сброса давления показана на рисунке 5.
Таблица 1 Технические характеристики и основные параметры
Эффективный калибров (Мм) | Turn on the pressure (КПа) | Открытый предел давления отклонения (кПа). | Выключите давление (КПа) | Давление герметизации (КПа) |
φ25 φ50 | 15 | ±5 | 8 | 9 |
25 | 13.5 | 15 | ||
35 | 19 | 21 | ||
55 | 29.5 | 33 |

Рис. 5 Схема конструкции клапана сброса давления
4. Используйте
Выберите оборудование с предохранительным устройством, и предохранительный штифт должен быть снят до ввода оборудования в эксплуатацию, иначе предохранитель не может быть открыт.
После работы клапана сброса давления во время эксплуатации маркерный стерж следует сбросить после обнаружения неисправности для повторного использования.Выпускный клапан не может быть удален произвольно во время монтажа.
У клапана сброса давления есть утечка масла, и следует принять меры для ее решения вовремя, и основные причины утечки масла примерно следуют::
а.По какой-то причине давление в топливном баке слишком высокое, которое превысило герметическое давление выпускающего клапана, но еще не достигло давления открытия, вызывая утечку.
b.Некоторые уплотнительные кольца в клапане стареют и не работают, и не работающее уплотнительное кольцо должно быть заменено производителем вовремя.
c.Если на уплотнительной поверхности есть инородный объект, его можно вовремя устранить.
5.Техническое обслуживание и капитальный ремонт
5.1Используйте возможность каждого отключения электроэнергии технического обслуживания электрооборудования для проведения следующего технического обслуживания клапана.
а.Действие открытия является чувствительным.
b.Независимо от того, старло ли уплотнительное кольцо, деформировано или повреждено.Если обнаружены какие-либо аномалии, их необходимо вовремя заменить, чтобы избежать утечки масла или даже отказа выпускающего клапана из-за старения резинового кольца.
c.Очистите инородные тела в клапане.
d.Были ли детали ржавчины, деформированы или повреждены.
5.2Пользователь должен подготовить несколько предохранительных клапанов в случае их замены во время проверки.
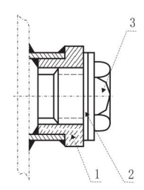
(4) Щиток образца масла
Он обычно устанавливается в направлении стороны низкого давления нижней части топливного бака для проб нефти.При использовании сначала отвинчайте крышку, положите масляный пробный шланг на мягкий соединение 1: затем медленно закрутите пробку, пока масло не может быть высвобождено из соединителя, и завинчайте крышку после завершения.

Диаграмма 6
(5)Сиденье для термометра
Для измерения повышения температуры масляной поверхности трансформатора.Ртутный термометр для измерения предоставляется пользователем.Структура сиденья термометра показана на рисунке 7.Разъем датчика температуры заполнен трансформаторным маслом, и когда измеряется повышение температуры поверхности масла, просто откройте крышку и вставьте ртутный термометр.После измерения вытащите термометр и снова затяните крышку.

Диаграмма 7
(6) Заземляющие болты
Заземляющий болт сварен в нижней части низковольтной стороны резервуара для общего заземления трансформатора.Его структура показана на рисунке 8.В стиральной установке пункта 2 домашнее соединение подключается к заземляющей шине, а болт пункта 3 затягивается для обеспечения безопасной работы трансформатора.Для удобства идентификации есть знак заземления.

Рисунок 8
(7) Масляный клапан
Масляный дренажный клапан устанавливается в направлении низковольтной стороны топливного бака для аварий трансформатора или для очистки и дренажа масла.

Рисунок 9

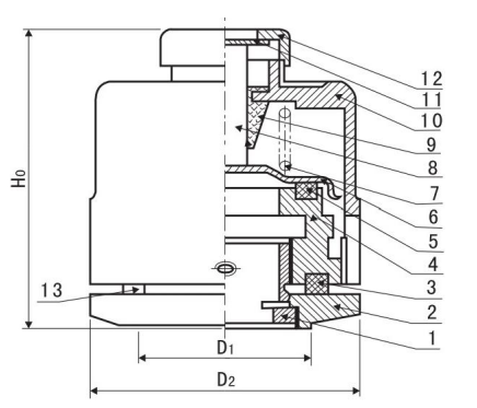
Полностью герметизированный компонент масляного силового трансформатора
Серийный номер | Код | Название | Quantity | Замечания |
11 | tap-changers | 1 | ||
10 | Сигнальный крепление термометра | 1 | There Они больше чем 1000КВА | |
9 | держатель ртути термометра | 1 | ||
8 | Заземляющий болт | 1 | ||
7 | Пробный клапан для масла | 1 | ||
6 | Трансформаторный шкаф | 1 | ||
5 | Газовые релейы | 1 | Более 800 кВА | |
4 | Корпус низкого давления | 4 | ||
3 | Корпус высокого давления | 3 | ||
2 | Масляный уровень | 1 | ||
1 | Клапан снятия давления | 1 |
Представ ля ем характери стики , безопа с ные мето ды эксплуата ции и техни ческие пара мет ры трансформа тора : S 9 \ S 11 \ S 13 Тран с форма торы , запо л нен ные жи дко стью
